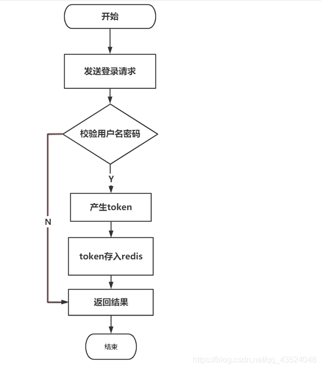
使用 token 时需要考虑的问题 ● 如果你认为用数据库来存储 token 会导致查询时间太长,可以选择放在内存当中。比如 redis 很适合你对 token 查询的需求。 ● token 完全由应用管理,所以它可以避开同源策略 ● token 可以避免 CSRF 攻击(因为不需要 cookie 了) ● 移动端对 cookie 的支持不是很好,而 session 需要基于 cookie 实现,所以移动端常用的是 token
将短信验证码以字符串保存到Redis,同时设置过期时间,确保跟需求一致,利用Redis不仅按需保存带有过期的验证码,而且还是进程级别的共享数据,能够保证在多个Diner微服务中读取。
先访问:http://localhost/diners/checkPhone?phone=12311113333
返回结果:
{
"code": 0,
"message": "该手机号未注册",
"path": "/checkPhone",
"data": null
}再访问:http://localhost/diners/send?phone=12311113333
返回结果(Redis 查看验证码):
{
"code": 1,
"message": "Successful.",
"path": "发送成功",
"data": "/send"
}再访问:http://localhost/diners/register
请求参数:
{
"username": "zhangsan",
"password": "123456",
"phone": "12311113333",
"verifyCode": "833275"
}返回结果:
{
"code": 1,
"message": "Successful.",
"path": "/register",
"data": {
"nickname": null,
"token": "4323c187-5ffa-4e45-a3a3-e7cdff32145d",
"avatarUrl": null
}
}最后查看数据。


